什么是安全栅?什么是信号隔离器?
2023-02-13 科威
CFB锅炉的各设备的作用
换热器头盖法兰的带压堵漏案例分享
2023-02-11 科威
分享常用金属材料硬度对照表
锅炉“干锅”有什么危害?如何处理?
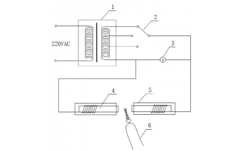
热电偶补偿原理知识分享
2023-02-06 科威
一种贵金属热电偶焊接装置
电动机控制线路故障查找方法